Россия
Россия
Рассмотрены существующие карты режимов течения двухфазного потока, кипящего в горизонтальной трубе, проведен анализ действующих карт режимов, отмечены их основные достоинства и недостатки. Представлены результаты экспериментальных исследований режимов течения двухфазных потоков хладагента в горизонтальных трубах внутренним диаметром 13 мм. Приведена схема вспомогательного и экспериментального контура стенда для определения картины течения, на котором проведено более 100 замеров, 40 из которых были нанесены на обобщенную карту режимов. Получены режимы течения для массовых скоростей в диапазоне от 50 до 400 кг/(м2·с), давлением насыщения от 0,064 до 0,681 МПа и плотностью теплового потока от 1 до 15 кВт/м2, получены все основные режимы течения (расслоенный, волновой, снарядный и кольцевой). Проведено сопоставление результатов эксперимента с картами, предложенными авторами Л. Войтаном, А. Ционcолини, Л. Гарбаи, Р. Санта, получена обобщенная карта режимов. Отмечены недостатки полученной карты режимов течения. Осуществлено сопоставление полученной карты с опытными данными, выделена карта режимов, наиболее соответствующая результатам эксперимента. В целях получения единой карты режимов, которую возможно использовать в области холодильной техники, проведено построение границы перехода расслоенного и волнового режимов течения в критериях подобия: параметре Локхарта – Мартинелли и безразмерной скорости.
двухфазные потоки, режимы течения хладагентов, карты режимов течения, границы переходов режимов, критерии подобия, граница перехода в безразмерных параметрах
Введение
Процесс кипения при вынужденном движении парожидкостной смеси в трубе характеризуется изменениями гидродинамической картины по ходу течения холодильного агента. Данный процесс обусловлен постоянным увеличением пара, а также изменением скоростей паровой и жидкостной фаз. Значительную роль в данном теплообменном процессе играет площадь поверхности, омываемой жидкостью, непосредственно влияющая на общий коэффициент теплоотдачи. Соотношение паровой и жидкостной фаз, их движение друг относительно друга, а также интенсивность фазового перехода формируют картину кипения.
Определение картины течения является достаточно сложным процессом, т. к. на нее влияет значительное количество характеристик, таких как физические свойства холодильного агента, тепловая нагрузка, скорости паровой и жидкостной фаз, а также геометрические характеристики теплообменной поверхности. При проектировании теплообменных аппаратов такие параметры являются ключевыми. От правильного определения режима течения парожидкостной смеси зависят массогабаритные и энергетические показатели, поэтому особенно важно знать границы переходов между различными режимами течения. Важность определения данного параметра способствует продолжающимся исследованиям в данной области, количество которых весьма значительно. При этом единая карта режимов, которую можно применять к различным рабочим веществам, а также условиям фазовых переходов, отсутствует.
Обзор карт режимов течения двухфазных потоков
В качестве осей построения карт режимов течения до конца ХХ в. использовали различные физические величины, а также их совокупности [1]. На рис. 1 продемонстрированы карты режимов течения таких авторов, как Дж. М. Мандхане, Г. А. Грегори, К. Азиз (1974 г.) [2], О. Бакер (1954 г.) [3], Ю. Таител и А. Е. Дуклер (1976 г.) [4], Дж. П. Брилл, Ш. Мукхерйе (1999 г.) [5].
а б
в г
Рис. 1. Карты режимов течения (XX в.): а – Дж. М. Мандхане, Г. А. Грегори, Азиз К. (1974 г.) [2]; б – О. Бакер (1954 г.) [3];в – Ю. Таител, А. Е. Дуклер (1976 г.) [4];
г – Дж. П. Брилл, Ш. Мукхерйе (1999 г.) [5]
Fig. 1. Flow mode maps (XX century): а – J. M. Mandhane, G. A. Gregory, K. Aziz (1974) [2]; б – O. Baker (1954) [3]; в – Yu. Taitel, A. E. Ducler (1976) [4]; г – J. P. Brill, H. Mukherjee (1999) [5]
Начиная с XXI в. авторы, исследующие режимы течения парожидкостной смеси, унифицировали оси построения карт режимов течения (массовая скорость по оси ординат и массовое паросодержание по оси абсцисс), при этом указанные физические величины в качестве осей построения карт до настоящего времени используются как при изучении процессов кипения, так и конденсации (рис. 2). Следует отметить, что границы переходов различных режимов течения для более современных карт режимов двухфазного потока также имеют схожий вид, что значительно упрощает их использование.
а б
Рис. 2. Карты режимов течения (XXI в.): а – Л. Войтан, Т. Урсенбачер, Дж. Р. Том (2005 г.) [6]; б – Л. Гарбаи, Р. Санта (2002 г.) [7]
Fig. 2. Flow mode maps (XXI century): а – L. Wojtan, T. Ursenbacher, J. R. Thome (2005) [6]; б – L. Garbai, R. Santa (2002) [7]
Описание эксперимента по изучению гидродинамики двухфазного потока
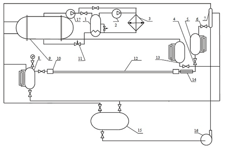
В целях сравнения вышеуказанных карт режимов течения с экспериментальными данными, изучения гидродинамики двухфазного потока кипящей жидкости спроектирован экспериментальный стенд (экспериментальные данные получены при следующих условиях: холодильный агент R22; массовая скорость – 50–400 кг/(м2·с); диаметр трубопровода – 13 мм; тепловой поток – 1 000–15 000 Вт/м2; давление кипения – 0,064–0,681 МПа). Стенд состоит из вспомогательного и экспериментального контуров (рис. 3). Холодильный агент находится в ресивере 15 экспериментального контура, из которого перекачивается насосом 16 в держатель уровня 7, а в дальнейшем в экспериментальную трубу 12.
Экспериментальная труба выполнена из нержавеющей стали (диаметр – 13 мм; толщина стенки – 1 мм; длина – 3 000 мм), на входе и выходе которой для наблюдения картины кипения имеются смотровые стеклянные трубки. Нагрев кипящего в трубе холодильного агента осуществляется посредством подвода к трубе тока низкого напряжения. Измерение температуры рабочего вещества и температуры стенки осуществляется на равных участках длины в пяти сечениях при помощи термопар. Для измерения кипящего потока используются находящиеся в трубе термогильзы.
После экспериментальной трубы парожидкостная смесь разделяется на жидкостную и паровую фазу в мерной емкости 8, далее пар перемещается в конденсатор-испаритель 9, а жидкость – обратно в ресивер 15. Также в данном стенде присутствуют следующие элементы: 1 – промежуточный сосуд; 2, 17 – компрессоры низкого и высокого давления; 3 – конденсатор; 4, 6 – регулирующие вентили; 5, 13 – мерные сосуды; 10 – участок визуального наблюдения; 11 – дроссельный вентиль, 14 – предварительный нагреватель.
Рис. 3. Вспомогательный и экспериментальный контуры стенда для определения картины течения
Fig. 3. Auxiliary and experimental contours of the stand for determining the flow pattern
Всего на данном стенде проведено более 100 замеров, 40 из которых нанесены на обобщенную карту режимов. В рамках смоделированных в экспериментальной трубе условий удалось получить все основные режимы течения (расслоенный, волновой, снарядный и кольцевой).
Получение обобщенной карты режимов течения
С целью получения обобщенной карты режимов течения, а также сопоставления карт режимов с полученными результатами эксперимента проведено сравнение работ Л. Войтана, Т. Урсенбачера, Дж. Р. Тома (2005 г.) [6] (карта получена для следующих условий: холодильный агент R22; массовая скорость – 100 кг/(м2·с); диаметр трубопровода – 13,84 мм; тепловой поток – 2 100 Вт/м2; температура кипения: 5 °C), Л. Гарбаи, Р. Санта (2002 г.) [7] (карта получена для следующих условий: холодильный агент R134a; массовая скорость – 100 кг/(м2·с); диаметр трубопровода – 6 мм; тепловой поток – 3 000 Вт/м2; температура кипения: 5 °C) и А. Ционcолини (2015 г.) [8] (карта получена для следующих условий: холодильный агент R22; массовая скорость – 100 кг/(м2·с); диаметр трубопровода – 13,84 мм; тепловой поток – 2 100 Вт/м2; температура кипения: 5 °C).
После графического сопоставления указанных карт режимов течения проведено сопоставление полученной графической зависимости с результатами эксперимента по исследованию гидродинамики двухфазного потока кипящей жидкости (рис. 4).
Рис. 4. Обобщенная карта режимов с наложенными данными эксперимента: 1– пузырьковый; 2 – снарядный; 3 – снарядный и волновой; 4 – волновой; 5 – расслоенный; 6 – кольцевой;
полученная при сопоставлении результатов работ [6–8]: a, с – Л. Войтан, Т. Урсенбачер, Дж. Р. Том (2005 г.); b – А. Ционcолини (2015 г.); d – Л. Гарбаи, Р. Санта (2002 г.)
Fig. 4. Generalized mode map with the superimposed experimental data: 1 – bubble flow mode; 2 – shell; 3 – shell and wave; 4 – wave; 5 – layered; 6 – ring;
obtained by comparing the results of [6-8]: a, c – L. Wojtan, T. Ursenbacher, J. R. Thome (2005); b – А. Cioncolini (2015); d – L. Garbai, R. Santa (2002)
Анализ результатов эксперимента
Анализ распределения экспериментальных данных свидетельствует о том, что области карты режимов течения с конкретной картиной двухфазного потока соответствуют режимам течения, полученным в ходе эксперимента, в частности во второй области распределены экспериментальные данные со снарядным и волновым режимами течения, в третьей – расслоенного, волнового и снарядного, а в четвертой – только расслоенного. Таким образом, третья область является переходной от снарядного режима течения двухфазного потока к расслоенному. При этом наиболее точно результаты проведенного эксперимента по исследованию теплоотдачи и гидродинамики кипящих холодильных агентов описываются картой режимов, предложенной авторами Л. Гарбаи, Р. Санта (2002 г.) [7].
Несмотря на то, что полученная карта режимов течения хорошо согласуется с экспериментальными данными, у нее имеются недостатки. В частности, имеются несоответствия физическим представлениям картины кипения парожидкостной смеси в гладкой трубе. Так, при движении парожидкостной смеси с массовыми скоростями свыше 200 кг/(м2·с) в диапазоне значений массового паросодержания от 0,31 до 0,44 наблюдается переход от пузырькового к кольцевому режиму течения. Кроме этого, при аналогичных массовых скоростях в диапазоне значений массового паросодержания от 0 до 0,31–0,44 наблюдается переход от снарядного к пузырьковому режиму течения, что не соответствует ранее проведенным различными авторами визуальным наблюдениям гидродинамики двухфазных потоков в горизонтальных трубах, а также общепринятой последовательности сменяемости картин течения.
Также следует отметить, что данные карты имеют значительный недостаток в части отсутствия линии перехода от снарядного и пробкового к волновому и расслоенному режимам течения. Согласно результатам проведенного эксперимента данная линия перехода находится при значениях x > 0,1.
Получение обобщенной карты режимов течения в безразмерных параметрах
Принимая во внимание изложенный материал, ввиду существенных недостатков рассматриваемых карт, в целях получения универсальной карты, учитывающей наибольшее количество факторов, влияющих на границы переходов режимов, имеется целесообразность перехода к описанию режимов течения с помощью методов теории подобия, в частности посредством комплекса безразмерных параметров (критериев подобия), учитывающих физические параметры, характеризующие режимы и границы переходов между ними.
Следует также учесть тот фактор, что массовая скорость движения холодильного агента в промышленных испарителях находится в диапазоне от 30 до 140 кг/(м2·с), а для конденсаторов этот диапазон составляет 50–500 кг/(м2·с). Следовательно, для испарителей жидкость внутри труб изменяется в диапазоне от 0,02 до 0,13 м/с, а скорость пара – от 0,46 до 2,15 м/с. Для конденсаторов значение скорости жидкости составляет 0,05–0,5 м/с, скорости пара – 0,8–7,93 м/с. Таким образом, можно предположить, что в теплообменных аппаратах холодильных машин с внутритрубным кипением существует только волновой или расслоенный режим течения двухфазного потока холодильного агента, поэтому целесообразно определение границ течения именно этих режимов.
Проведено сопоставление в единой системе безразмерных параметров, в частности параметров Локхарта – Мартинелли, и безразмерной скорости границ расслоенного и волнового режимов течения для вышеуказанных карт и режимных параметров. Результаты представлены на рис. 5.
Рис. 5. Граница перехода расслоенного и волнового режимов течения
Fig. 5. Boundary of transition between stratified and wave flow modes
Полученная линия тренда является границей перехода расслоенного и волнового режимов течения для условий проведения эксперимента, хорошо согласуется с рассмотренными картами режимов течения, а также экспериментальными данными, имеет высокий показатель достоверности аппроксимации.
Заключение
Результаты проведенного анализа карт режимов течения, а также их сопоставления с экспериментальными данными позволили выделить наиболее унифицированные современные карты режимов течения. Определена карта режимов кипения при движении парожидкостной смеси в горизонтальной трубе, наилучшим образом согласующаяся с данными эксперимента. Получена граница перехода расслоенного и волнового режимов течения для условий проведения эксперимента, которую можно использовать при проектировании теплообменных аппаратов холодильной техники, а также расчета их массогабаритных и энергетических показателей.
1. Кузьмин А. Ю., Букин А. В. Экспериментальное исследование теплоотдачи при кипении на гладкой трубе в условиях свободной конвекции альтернативных хладагентов R407c и R410a // Юг России: экология, развитие. 2010. № 4. С. 121–124.
2. Mandhane J. M., Gregory G. A., Aziz K. A flow patteren map for gas-liquid flow in horizontal pipes // International Journal of Multiphase Flow. 1974. V. 1. P. 537–553.
3. Baker O. Simultaneous flow of oil and gas // Oil and Gas Journal. 1954. N. 53. P. 185–195.
4. Taitel Y., Ducler A. E. A model for predicting flow regime transitions in horizontal and near-horizontal flow // American Institute of Chemical Engineering Journal. 1976. V. 22. P. 47–55.
5. Brill J. P., Mukherjee H. Multiphase Flow in Wells // Society of Petroleum Engineers. 1999. URL: https://www.scirp.org/reference/ReferencesPapers?ReferenceID=947648 (дата обращения: 01.03.2025).
6. Wojtan L., Ursenbacher T., Thome J. R. Investigation of flow boiling in horizontal tubes: Part I – A new diabatic two-phase flow pattern map // International Journal of Heat and Mass Transfer. 2005. N. 48. P. 2955–2969.
7. Garbai L., Sánta R. Flow Pattern Map for In Tube Evaporation and Condensation. Budapest University of Technology and Economics, Hungary, 2002. 6 p.
8. Cioncolini А. Two-Phase Flow Pattern Maps for Macrochannels / Research Gate. URL: https://www.researchgate.net/publication/300569658 (дата обращения: 01.03.2025).



